首页>新闻动态>电池知识

聚焦最新储能电池标准IEC 62619:2022及其解决方案

发布者:【浩博电池资讯】   发布时间:2024-06-07 11:06:07   点击量:1480
IEC电池技术委员会TC 21/SC 21A于2022年5月24日发布了IEC 62619:2022第二版。与前一版本比较,涉及以下重大技术变更:
  • 新增运动部件要求;
  • 附加危险带电部件要求;
  • 附加电池系统设计要求;
  • 新增系统锁要求;
  • 新增EMC要求;
  • 附加激光触发蔓延流程。


新版新增:

章节

内容

1 范围

该标准适用于全新的电芯和电池,不考虑再使用、回收等二次使用的类似情况

3.22 最大放电电流

最大放电电流的定义

5.1 通用要求

对运动部件的要求

5.2 绝缘和接线

对带电部件的要求

5.5 电池包和/或电池系统的端子连接

通过检查端子规格来确保合规性

5.6.1 组装通用

电芯制造商应该提供安装建议,存储条件,串联的最大电芯数(用于电芯的保护,比如电流切断装置CID)

5.6.2 电池系统设计

电池的设计应使在达到电池允许的最大充电或放电电流之前,应不超过电芯的最大充电电流或最大放电电流

5.8 系统锁

当电池系统中的一个或多个电芯在操作过程中偏离操作区域时,电池系统应具有停止操作的不可复位功能。此功能不允许用户重置或自动重置

7.2.3.3 边和角跌落测试

测试结束后,样品应放置至少1小时后再进行检查

9 EMC

电池系统应满足终端应用的EMC要求,可以在终端产品上进行EMC测试

10 安全信息

如果电池系统需要终端设备提供保护装置和/或控制装置,终端设备造商应在电池系统的安装信息中提供这些需要提供的保护装置的详细信息,终端设备制造商有责任告知终端用户使用包含电池系统的终端设备时产生的潜在危险

12 包装和运输

参考附录D

附录B

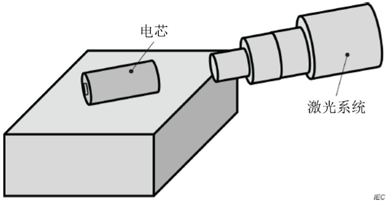
激光触发蔓延流程


新版修改:

章节

内容

2 引用标准

修改IEC 62133:2012为IEC 62133-2:2017

3.17 起火

修改定义需要满足超过1秒并增加备注:火花和电弧不认为是火焰

6.2 测试条款

放电根据IEC 62620:2014 条款 6.3.1

7.2.2 重物冲击测试

软包电池测试方法同方形电芯,即需要测试宽面和窄面

7.2.3.1 跌落测试通用要求

对于重量为7 kg或以上的测试样品,测试应采用制造商规定的底部朝下进行

7.2.5 过充测试

7.2.5章节中的电池系统的最大充电电流与3.21章节定义的单电芯最大充电电流不同

7.3.2 内短测试

修改IEC 62133:2012为IEC 62133:2017并增加了详细的测试方法描述,结果判定只保留不着火

7.3.3 蔓延测试

删除推荐电阻加热热失控的方法,新增推荐激光加热热失控的方法,并且需要在报告中描述引发热失控的方法,修改热失控后观察时间1小时为8小时

8.1 通用要求

修改IEC 60730-1:2013为IEC 60730-1:2020,新增ISO 13849(全部),对电芯制造过程以及电池系统制造过程进行工艺危害分析,并对其进行控制,并形成证据文件。制造商应该有一种方法来控制生产过程中的安全隐患

8.2.2 过压测试

如果BMS未能终止充电,出于安全考虑,应在适当的时间停止测试,如电池电压达到上限充电电压的103 %或超过上限充电电压后1 min等

判定:BMS应在超过充电电压上限前终止充电

附录D 包装与运输

关于二次锂电池国际运输的规定依据的是联合国关于危险货物运输的建议。《联合国试验和标准手册》规定了试验要求。由于法规可能会发生变化,需参考最新版本


新版删除:

章节

内容

5.4 温度电压电流管理

删除注释:在适用的情况下,可以提供在充电和放电期间将电流限制在安全水平的方法


激光触发蔓延流程:

1. 电芯预备测试
1)根据制造商规定方法将电芯充满电
2)在电芯表面放置热电偶
3)固定电芯
图片
4)确定激光照射计划
5)准备电芯温度测量等设备
6)将环境温度设置为25℃±5℃
7)在确定点用激光照射电池并测量电芯温度直至观察结束
8)当观察到由于电芯热失控导致温度快速上升时关闭激光
图片
9)持续观察电芯温度与外观直到温度下降到安全操作范围
10)查看温度曲线以确认热失控
11)电芯预测应重复3次,如果在相同条件下的每次测试中确认热失控,则在相同照射条件下进行电池系统蔓延测试

2. 电池系统测试
1)根据制造商推荐条件将电池系统充满电
2)在电芯表面放置热电偶
3)将电池系统固定在测试台上,目标电芯上的辐照点应与预备测试的相同或类似
4)准备并设置用于电池系统温度测试等设备
5)确定激光照射计划
6)将环境温度设置为25 ℃ ± 5 ℃
7)在确定点用激光照射目标电芯并持续测量所监控电芯的温度

8)当观察到由于电芯热失控导致温度快速上升时,关闭激光

9)观察测量电芯温度和电池系统外观至少1小时


DEKRA德凯广州电池领域技术专家表示:
在7.3章节中,电芯内部短路测试与电池系统的热蔓延测试为二选一,其思路是确保电池层级安全,或电芯层级的不安全不蔓延。DEKRA德凯建议您优先考虑电芯层级的内部短路测试,一方面保证其固有安全,另一方面也是对测试成本的考虑。对于有条件的客户,我们也建议您增加考虑电池系统层级的热蔓延测试,以验证该层级的蔓延的控制能力。


认证方案:


声明: 本网站所发布文章,均来自于互联网,不代表本站观点,如有侵权,请联系删除。

#
  • 安全
  • 可靠
  • 环保
  • 高效
  • 高性能

    能量密度:125-160Wh/kg
    充放电能力:5-10C(20-80%DOD)
    温度范围:-40℃—65℃
    自耗电:≤3%/月

  • 高安全

    过充电、过放电、针刺、 挤压、短路、
    撞击、高温、枪击时电池不燃烧、爆炸。

  • 高可靠

    动力电池循环寿命不低于2000次,
    80%容量保持率;
    电池管理系统可靠、稳定、适应性 强,
    符合国军标要求。

产品

工业及储能应用锂离子电池系统

服务

CB 认证(DEKRA德凯)

标准

IEC 62619:2017

IEC 62619:2022  

标准版本升级

样品(或制造商与客户达成的另外数量)

12个电芯,2个电池组

12个电芯,2个电池组